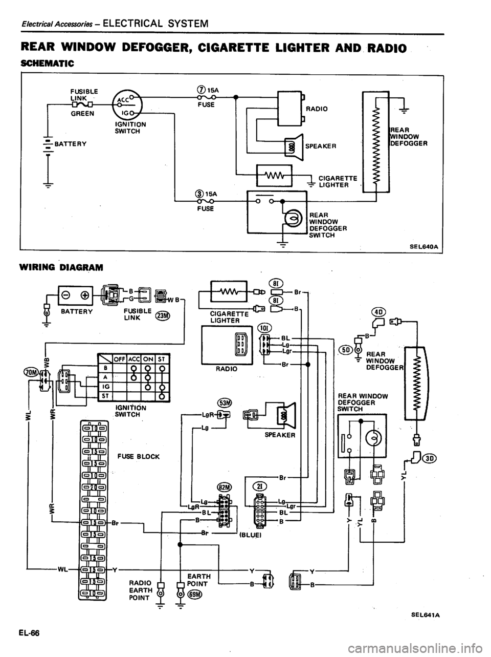
DATSUN PICK-UP 1981 Service Manual
Page 551 of 564

Page 552 of 564

Page 553 of 564

Page 554 of 564

Page 555 of 564

Page 556 of 564

Page 557 of 564

Page 558 of 564

Page 559 of 564

Page 560 of 564

View, print and download for free: DATSUN PICK-UP 1981 Service Manual, 564 Pages, PDF Size: 47.54 MB. Search in DATSUN PICK-UP 1981 Service Manual online. CarManualsOnline.info is the largest online database of car user manuals. DATSUN PICK-UP 1981 Service Manual PDF Download.
All product names, logos, and brands are property of their respective owners.