sensor NISSAN ALMERA N15 1995 User Guide
[x] Cancel search | Manufacturer: NISSAN, Model Year: 1995, Model line: ALMERA N15, Model: NISSAN ALMERA N15 1995Pages: 1701, PDF Size: 82.27 MB
Page 325 of 1701

TROUBLEDIAGNOSES
Self-diagnosis (ForEurope) (Cont'd)
MALFUNCTION CODE/SYMPTOM CHART
Code No.
Malfunctioningpart Diagnostic
procedure
(No. ofwarning lampflashes)
45
Actuator
frontleftoutlet solenoid valve
3
46
Actuator
frontleftinlet solenoid valve
3
41
Actuator
frontrightoutlet solenoid valve
3
42
Actuator
frontrightinletsolenoid valve
3
51
Actuator
rearright outlet solenoid valve
3
52
Actuatorrearright inletsolenoid valve
3
55
Actuator
rearleftoutlet solenoid valve
3
56
Actuator
rearleftinlet solenoid valve
3
25
Frontleftsensor (open-circuit)
4
26
Front
leftsensor (short-circuit)
4
21
Frontrightsensor (open-circuit)
4
22
Front
rightsensor (short-circuit)
4
35
Rearleftsensor (open-circuit)
4
36
Rear
leftsensor (short-circuit)
4
31
Rearrightsensor (open-circuit)
4
32
Rearrightsensor (short-circuit)
4
18
Sensorrotor
4
61
Actuatormotorormotor relay
5
63
Solenoidvalverelay
6
57
Powersupply (Lowvoltage)
7
71
Controlunit
8
Control unitpower supply circuit
Warning lampstays onwhen igni-Warning
lampbulbcircuit
tion switch isturned on Control
unitorcontrol unitconnector
2
Solenoid valverelaystuck
Power supply forsolenoid valverelaycoil
Warning lampstays on,during
Controlunit
-
self-diagnosis
Warning lampdoesnotcome onFuse, warning lampbulborwarning lampcircuit
1
when ignition switchisturned onControl unit
Warning lampdoes notcome on
Control unit
during self-diagnosis
-
Pedal vibration andnoise
-
9
Long stopping distance
-
10
Unexpected pedalaction
-
11
ABS does notwork
-
12
ABS works frequently
-
13
BR-55
•
Page 327 of 1701

TROUBLEDIAGNOSES
Self-diagnosis (ExceptEurope) (Cont'd)
@
Check warning lampfordeactivation
after driving vehicle over30km/h (20
MPH) foratleast oneminute.
After making certainthatwarning
lamp does notcome on,test theASS
in asafe area toverify thatitfunctions
properly.
•
SBR441C
CODE
NO.32
Tens digits Unitsdigits
Unit: Second
3.6
HOW TOERASE SELF-DIAGNOSTIC RESULTS
(Malfunction codes)
1. Disconnect thecheck terminal fromground (ASSwarning
lamp willstay lit).
2. Within 12.5seconds, groundthecheck terminal 3times.
Each terminal groundmustlastmore than1second. The
ASS warning lampgoesoutafter theerase operation has
been completed.
3. Perform self-diagnosis again.RefertoSR-56. Onlythestart
code should appear, nomalfunction codes.
0.4
1.60.40.4 0.4
3.6
ON
OFF
OFF
Self-diagnosiscompleted
"I
~~ i
::J1IU 1
L
p;eck~IJi
i
Open -._.-
Idlsconnect)
!
Ground
10---+1
I
__ .__ ... _--.J..
~9rt'_
!~~_1.~:':. ......L
J
; 12.5
see
j
Malfunction code
memory erased
ABR256
IGN
Warning
lamp ON
HOW
TOREAD SELF-DIAGNOSTIC RESULTS(Malfunction codes)
• Determine thecode No.bycounting thenumber oftimes thewarning lampflashes onand off.
• When several malfunctions occuratone time, uptothree codenumbers canbestored; thelatest
malfunction willbeindicated first.
• The indication beginswiththestart code 12.After thatamaximum ofthree codenumbers appearin
the order ofthe latest onefirst. Theindication thenreturns tothe start code 12torepeat (theindi-
cation willstay onfor five minutes atthe most).
• The malfunction codechart isgiven onthe next page.
Example: CodeNo.32REAR SENSOR SHORT-CIRCUIT
Start code: 12
Tens digits Unitsdigits
MALFUNCTION CODE/SYMPTOM CHART
Refer toSR-55.
BR-57
Page 328 of 1701

TROUBLEDIAGNOSES
CONSULT
CONSULT APPLICATION TOASS
ITEM SELF-DIAGNOSTIC
DATAMONITOR ACTIVETEST
RESULTS
Front rightwheel sensor
XX
-
Front leftwheel sensor
XX
-
Rear rightwheel sensor
XX
-
Rear leftwheel sensor
XX
-
Stop lamp switch
-
X
-
Front rightinletsolenoid valve
XXX
Front rightoutlet solenoid valve
X
XX
Front leftinlet solenoid valve
XXX
Front leftoutlet solenoid valve
XX
X
Rear rightinletsolenoid valve
XX
X
Rear leftinlet solenoid valve
XXX
Rear rightoutlet solenoid valve
X
XX
Rear leftoutlet solenoid valve
X
X
.X
Actuator solenoid valverelay
XX
-
Actuator motorrelay
(ABS MOTOR isshown onthe Data Monitor
X
XX
screen.)
ABS warning lamp
-
X
-
Battery voltage
XX
-
X: Applicable
-; Not applicable
ECU partnumber mode
Ignore theECU partnumber displayed inthe ECU PART NUMBER MODE.Refertoparts catalog toorder
the ECU.
BR-58
Page 329 of 1701
![NISSAN ALMERA N15 1995 User Guide TROUBLEDIAGNOSES
Ii)
NISSAN
CONSULT
EE940.
I
~
I
START
I
SUB
MODE
,
SEF253Q
@]
~
SELECT
SYSTEM
0
ENGINE
AfT
AIRBAG ABS
IVMS
SBR104D
@]
I~
SELECT DIAGMODE
01
I
SELF-DIAG
RESULTS NISSAN ALMERA N15 1995 User Guide TROUBLEDIAGNOSES
Ii)
NISSAN
CONSULT
EE940.
I
~
I
START
I
SUB
MODE
,
SEF253Q
@]
~
SELECT
SYSTEM
0
ENGINE
AfT
AIRBAG ABS
IVMS
SBR104D
@]
I~
SELECT DIAGMODE
01
I
SELF-DIAG
RESULTS](/img/5/57349/w960_57349-328.png)
TROUBLEDIAGNOSES
Ii)
NISSAN
CONSULT
EE940.
I
~
I
START
I
SUB
MODE
,
SEF253Q
@]
~
SELECT
SYSTEM
0
ENGINE
AfT
AIRBAG ABS
IVMS
SBR104D
@]
I~
SELECT DIAGMODE
01
I
SELF-DIAG
RESULTS
,
I
DATA
MONITOR
I
I
ACTIVE
TEST
I
ECU
PART NUMBER
I
I
SST412B
II
•SELF-DiAG RESULTS.
0
FAILURE DETECTED
TIME
FR RH SENSOR
0
[OPEN)
ERASE
II
PRINT
SBR950C CONSULT
Inspection Procedure
SELF-DIAGNOSIS PROCEDURE
m
1) Turn ignition switchOFF.
2) Connect CONSULT toData LinkCon-
nector forCONSULT.
1) Start engine.
2) Drive vehicle over30km/h (20MPH)
for atleast oneminute.
.
r
(;)
1)Stop vehicle withengine running
and touch "START" onCON-
SUL Tscreen.
• Program
card
AE950: ForAustralia
EE940: ExceptAustralia
(!]
2)Touch "ASS".
lP]
3)Touch "SELF-DIAG RESULTS".
• The screen showsthedetected mal-
function andthetimes ofignition
switch ONand OFF after itoccurred.
Make thenecessary repairsfollowing
the diagnostic procedures.
II
After themalfunctions arerepaired,
erase theself-diagnostic resultsstored
in the control unitbytouching
"ERASE".
Check warning lampfordeactivation
after driving vehicle over30km/h (20
MPH) foratleast oneminute.
Test theASS inasafe area toverify
that itfunctions properly.
Note: "SELF.DlAG RESULTS"screenshowsthedetected malfunction and
the times ofignition switchONand OFF after
it
occurred.
BR-59
•
Page 330 of 1701

TROUBLEDIAGNOSES
CONSULT Inspection Procedure(Conl'd)
SELF-DIAGNOSTIC RESULTSMODE
Diagnostic item
Diagnosticitemisdetected when... Diagnostic
procedure
FR RH SENSOR
•Circuit forfront rightwheel sensor isopen.
4
[OPEN] (Anabnormally highinput voltage isentered.)
FR LH SENSOR
•Circuit forfront leftwheel sensor isopen.
4
[OPEN] (Anabnormally highinput voltage isentered.)
RR RHSENSOR
•Circuit forrear right sensor isopen.
4
[OPEN] (Anabnormally highinput voltage isentered.)
RR LHSENSOR
•Circuit forrear leftsensor isopen.
4
[OPEN] (Anabnormally highinput voltage isentered.)
FR RH SENSOR
•Circuit forfront rightwheel sensor isshorted.
4
[SHORT] (Anabnormally lowinput voltage isentered.)
FR LH SENSOR
•Circuit forfront leftwheel sensor isshorted.
4
[SHORT] (Anabnormally lowinput voltage isentered.)
RR RH SENSOR
•Circuit forrear right sensor isshorted.
4
[SHORT] (Anabnormally lowinput voltage isentered.)
RR LHSENSOR
•Circuit forrear leftsensor isshorted.
4
[SHORT] (Anabnormally lowinput voltage isentered.)
ABS SENSOR
•Teeth damage onsensor rotororimproper installation ofwheel sensor.
4
[ABNORMAL SIGNAL]
(Abnormalwheelsensor signalisentered.)
FR RH INABS SOL
•Circuit forfront rightinletsolenoid valveisopen.
3
[OPEN] (Anabnormally lowoutput voltage isentered.)
FR LH INABS SOL
•Circuit forfront leftinlet solenoid valveisopen.
3
[OPEN] (Anabnormally lowoutput voltage isentered.)
RR RH INABS SOL
•Circuit forrear right inletsolenoid valveisopen.
3
[OPEN] (Anabnormally lowoutput voltage isentered.)
RR LHINABS SOL
•Circuit forrear leftinlet solenoid valveisopen.
3
[OPEN] (Anabnormally lowoutput voltage isentered.)
FR RH INABS SOL
•Circuit forfront rightinletsolenoid valveisshorted.
3
[SHORT] (Anabnormally highoutput voltage isentered.)
FR LH INABS SOL
•Circuit forfront leftinlet solenoid valveisshorted.
3
[SHORT] (Anabnormally highoutput voltage isentered.)
RR RH INABS SOL
•Circuit forrear right inletsolenoid valveisshorted.
3
[SHORT] (Anabnormally highoutput voltage isentered.)
RR LHINASS SOL
•Circuit forrear leftinlet solenoid valveisshorted.
3
[SHORT] (Anabnormally highoutput voltage isentered.)
FR RH OUT ABSSOL
•Circuit forfront rightoutlet solenoid valveisopen.
3
[OPEN] (Anabnormally lowoutput voltage isentered.)
FR LH OUT ASS SOL
•Circuit forfront leftoutlet solenoid valveisopen.
3
[OPEN] (Anabnormally lowoutput voltage isentered.)
RR RH OUT ASSSOL
•Circuit forrear right outlet solenoid valveisopen.
3
[OPEN] (Anabnormally lowoutput voltage isentered.)
RR LHOUT ABSSOL
•Circuit forrear leftoutlet solenoid valveis.open.
3
[OPEN] (Anabnormally lowoutput voltage isentered.)
FR RH OUT ASSSOL
•Circuit forfront rightoutlet solenoid valveisshorted.
3
[SHORT] (Anabnormally highoutput voltage isentered.)
FR LH OUT ABSSOL •Circuit forfront leftoutlet solenoid valveisshorted.
3
[SHORT] (Anabnormally highoutput voltage isentered.)
RR RHOUT ABSSOL •Circuit forrear right outlet solenoid valveisshorted.
3
[SHORT] (Anabnormally highoutput voltage isentered.)
RR LHOUT ASSSOL •Circuit forrear leftoutlet solenoid valveisshorted.
3
[SHORT] (Anabnormally highoutput voltage isentered.)
ABS ACTUATOR RELAY
•Actuator solenoid valverelayisON, even control unitsends offsignal.
6
[FAILURE] •Actuator solenoid valverelayisOFF, even control unitsends onsignal.
ABS MOTOR
•Circuit foractuator motorisopen orshorted.
5
[FAILURE] •Actuator motorrelayisstuck.
BATTERY VOLT
•Power source voltage supplied toABS control unitisabnormally low. 7
[VB-LOW]
CONTROL UNIT •Function ofcalculation inASS control unithasfailed.
8
BR-50
Page 333 of 1701

DATAMONITOR MODE TROUBLE
DIAGNOSES
CONSULT Inspection Procedure(Cont'd)
MONITOR ITEM CONDITION
SPECIFICATION
FR RH SENSOR
FR LHSENSOR Drive
vehicle.
Almostthesame speed asspeedometer.
REAR RHSENSOR (Each
wheel isrotating.)
REAR LHSENSOR
STOP LAMP SW Brake
isdepressed. Depress
thepedal: ON
Release thepedal: OFF
FR RH INSOL
FR RH OUT SOL
FR LH INSOL
FR LH OUT SOL
Engineisrunning. Operating
conditions foreach solenoid valveareindicated.
RR RH INSOL ABS
isnot operating: OFF
RR RH OUT SOL
.
RR LHINSOL
RR LHOUT SOL
IgnitionswitchON(Engine stops):OFF
ACTUATOR RLY
Enginerunning: ON
MOTOR RELAY ABS
isnot operating: OFF
Ignition switchisON or
ABSisoperating: ON
engine isrunning.
WARNING LAMP Warning
lampisturned on:ON
Warning lampisturned off:OFF
BATTERY VOLT Power
supply voltage forcontrol unit
ACTIVE TESTMODE
TEST ITEM CONDITION JUDGEMENT
Brake fluidpressure controloperation
FR RH SOLENOID
INSOL OUTSOL
FR LH SOLENOID
RR RH SOLENOID UP
(Increase): OFF OFF
RR LHSOLENOID
Engineisrunning. KEEP
(Hold): ON OFF
DOWN (Decrease): ON ON
ABS actuator motor
ABS MOTOR ON:
Motor runs
OFF: Motor stops
Note: Active testwillautomatically stoptenseconds afterthe
test starts. (LIMIT SIGNAL monitorshowsON.)
BR-63
•
Page 334 of 1701

TROUBLEDIAGNOSES
Component PartsandHarness Connector
Location
RHO models
Dualproportioning
valve
DABS warninglamp
X
1.1
ABS relay box
Brake master cylinder ~
Rear wheel sensors
Ii
Rear rightwheel
sensor connector
[i1
Rear leftwheel
sensor connector
• For LHD models, controlunit
is located onthe opposite side.
SBR047DA
BR-64
Page 344 of 1701

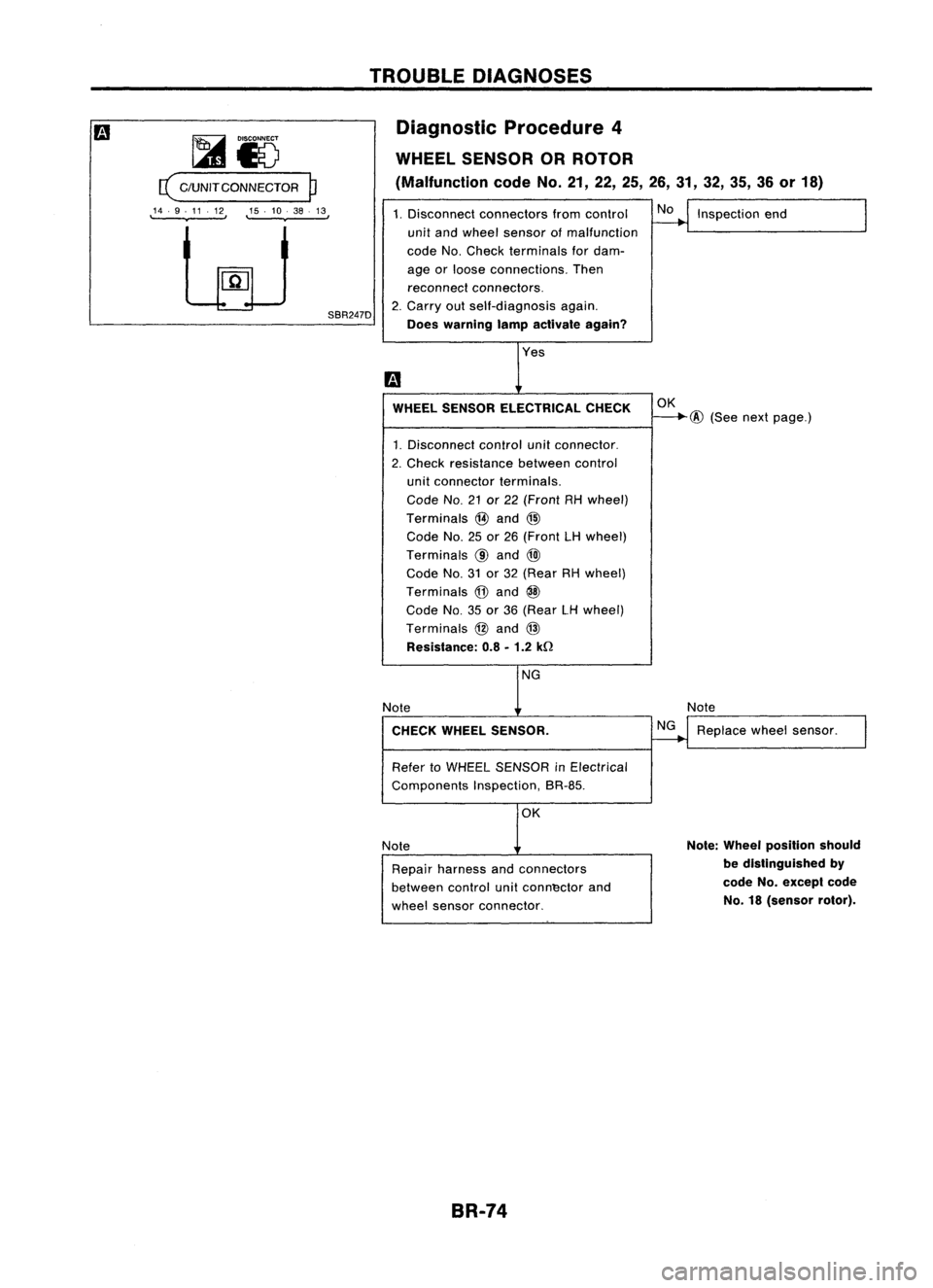
TROUBLEDIAGNOSES
~i5
E(
C/UNITCONNECTOR
P
,14.9.11 .12, ,15.10.38.13,
SBR247DDiagnostic
Procedure4
WHEEL SENSOR ORROTOR
(Malfunction codeNo.21,22,25,26,31, 32,35, 36or18)
1. Disconnect connectors fromcontrol
~Inspection end
I
unit and wheel sensor ofmalfunction
code No.Check terminals fordam-
age orloose connections. Then
reconnect connectors.
2. Carry outself-diagnosis again.
Does warning lampactivate again?
Yes
m
WHEEL SENSOR ELECTRICAL CHECK
OK
~@
(Seenextpage.)
1. Disconnect controlunitconnector.
2. Check resistance betweencontrol
unit connector terminals.
Code No.21or22 (Front RHwheel)
Terminals
@
and @
Code No.25or26 (Front LHwheel)
Terminals
@
and
@
Code No.31or32 (Rear RHwheel)
Terminals
@
and
@
Code No.35or36 (Rear LHwheel)
Terminals
@
and
@
Resistance: 0.8•1.2 kD
NG
Note Note
CHECK WHEELSENSOR.
~Replace wheelsensor.
I
Refer toWHEEL SENSOR inElectrical
Components Inspection,SR-85.
OK
Note
Note:
Wheel position should
Repair harness andconnectors
be
distinguished by
between controlunitconn'ector and
code
No.
exceplcode
wheel sensor connector.
No.
18(sensor rotor).
BR-74
Page 345 of 1701

Note
Note Clean sensor fixing
portion, orreplace sen-
sor.
NG
OK
OK
Check clearance betweensensorand
rotor.
Clearance: Front0.1 -1.1
mm
(0.004 .0.043 in)
Rear 0.1 -1.1 mm
(0.004 -0.043 in)
WHEEL
SENSOR MECHANICAL CHECK
NGAdjust tirepressure or
replace tire(s).
Check forinflation pressure, wearand
size ofeach tire.
Note
Note Check wheelbearing axialendplay.
m
"Note
TROUBLE
DIAGNOSES
Diagnostic Procedure4(Conl'd)
@
SBR069C
\
\ Rotor
\\ Sensor
)6
Feeler gauge
)I
OK
Note Check sensor rotorforteeth damage.
NG
Note
Replace sensorrotor.
OK
Check control unitpinterminals for
damage orthe connection ofcontrol
unit harness connector.
Reconnect controlunitharness connec-
tor. Then retest.
Note:
Wheel position should •••
be distinguished by
code
No.except code
No. 18(sensor rotor).
BR-75
Page 352 of 1701

TROUBLEDIAGNOSES
Diagnostic Procedure8
CONTROL UNIT
(Malfunction codeNo.71)
Carry outself-diagnosis aftererasing
self-diagnostic results,BR-56.
Does warning lampindicate codeNo.
71 again?
No
Inspect thesystem according tothe
code No. Yes
Replace controlunit.
Brake pedal Diagnostic
Procedure9
SYMPTOM: Pedalvibration andnoise
No
Does thesymptom appearwhenelectri-
SAT797A
calequipment switches(suchashead-
lamp) areoperated?
1.
Apply brake.
2. Start engine.
3. Does thesymptom appearonlywhen
engine isstarted?
No
Yes
Check wheelsensor shieldgrou.nd
secured withcontrol unitmounting bolt.
Refer toBR-41. Yes
Carryoutself-diagnosis.
Refer toBR-53 (Europe)
or BR-56 (Except
Europe).
Go to
Ii1
inDiagnostic
Procedure 11,BR-83.
OK
Check control unitpinterminals for
damage orthe connection ofcontrol
unit harness connector.
Reconnect controlunitharness connec-
tor. Then retest.
Note: ABSmayoperate andcause vibration underanyofthe
following conditions.
• Applying brakegradually whenshifting oroperating clutch.
• Low friction (slippery) road.
• High speed cornering.
• Driving overbumps andpotholes.
• Engine speedisover 5,000 rpmwith vehicle stopped.
BR-82