TOYOTA CELICA 1999 Service Repair Manual
Page 451 of 821

Page 452 of 821

Page 453 of 821

Page 454 of 821

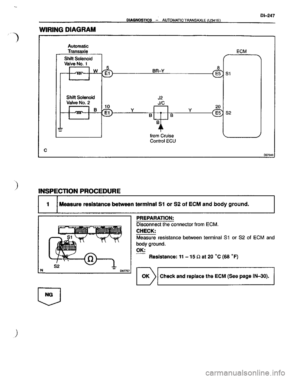
Page 455 of 821

Page 456 of 821

Page 457 of 821

Page 458 of 821

Page 459 of 821

Page 460 of 821

Page:
< prev 1-10 ... 411-420 421-430 431-440 441-450 451-460 461-470 471-480 481-490 491-500 ... 830 next >